"iPhone 8" sẽ là chiếc iPhone đột phá nhất của Apple?
Hàng loạt thông tin rò rỉ gần đây đang phác họa lên một chiếc iPhone thế hệ mới của Apple, có thể gọi là iPhone 8 với nhiều sự thay đổi lớn trong thiết kế. Cùng tham khảo giá bán Iphone 6s vàng cũ Hà Nội, Iphone 6 trắng like new và thủ tục mua iphone 6s trả góp tiện lợi.
Màn hình cong OLED đầu tiên của Apple?
Nikkei Châu Á liên tục đưa ra các thông tin rò rỉ xung quanh chiếc iPhone mới của Apple trong thời gian ngắn trở lại đây, từ việc lần đầu tiên Apple sẽ mở rộng thêm tùy chọn với màn hình 5 inch trên iPhone 8 và trang bị cả một màn hình cong OLED đầu tiên.

Đi cùng đó, Nikkei cũng dẫn các báo cáo gần đây và "tiết lộ" mẫu iPhone 8 thế hệ mới sẽ không còn dùng kim loại nguyên khối. Hãng sẽ đổi mới thiết kế bằng việc sử dụng mặt kính cho cả hai bề mặt - đây sẽ là làn gió mới cho iPhone sau nhiều năm chưa có sự thay đổi trong thiết kế. Thiết kế này đã từng được Apple sử dụng trên iPhone 4 và iPhone 4s nhưng chắc chắn sau nhiều năm, Apple sẽ có đột phá với iPhone 8. KGI dự báo các phiên bản cao cấp sẽ dùng thép không rỉ, trong khi phiên bản thấp hơn có thể sử dụng nhôm.
IPhone 8 cũng là sản phẩm đầu tiên có sạc không dây của Apple?
Cũng theo Nikkei Châu Á, iPhone 8 cũng sẽ là sản phẩm đánh dấu sự có mặt của tính năng sạc không dây - một tính năng mà người dùng yêu thích sản phẩm Apple đã kỳ vọng trong thời gian qua mà chưa xuất hiện.

Nikkei Châu Á thông tin, đối tác của Apple là Foxconn đang sản xuất thử nghiệm những thiết bị sạc không dây để áp dụng lên các sản phẩm iPhone mới trong năm 2017. Tuy nhiên, đó chỉ là những thử nghiệm và việc áp dụng thực tế cần có thêm thời gian thực nghiệm trên sản phẩm. Và chúng ta sẽ kỳ vọng, sản phẩm iPhone mới sẽ có thêm sạc không dây, giúp cho việc sử dụng thuận tiện hơn. Tính đến thời điểm này, Apple chỉ áp dụng sạc không dây duy nhất trên đồng hồ Apple Watch của hãng.
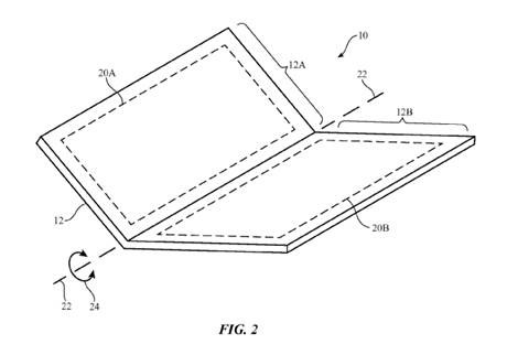
Apple cũng đang thử nghiệm thiết kế điện thoại gập đôi được?
Một số thông tin đăng tải gần đây cho thấy, Apple đang nghiêm túc trong việc thử nghiệm thiết kế nắp gập trên iPhone và có thể đây sẽ là sản phẩm táo bạo đánh dấu cho kỉ niệm 10 năm của iPhone.

Dẫn thông tin từ Elite Daily, người dùng đang kỳ vọng Apple sẽ gây bất ngờ lớn tại sự kiện kỉ niệm 10 năm iPhone với một sản phẩm sáng tạo. Sẽ không phải là iPhone 7s và Apple sẽ có thể bỏ qua cái tên này để tiến đến iPhone 8. Đáng chú ý, Elite Daily thông tin, iPhone 8 sẽ có một phiên bản gây chú ý với thiết kế gập được.
Bản phác thảo thiết bị này giống như cách mở một cuốn sách và gập lại dễ dàng.
Ngoài ra, Elite Daily cũng cho biết, iPhone 8 cũng sẽ có 3 kích thước màn hình, điều mà nhiều trang tin và Nikkei Châu Á cho rằng sẽ thành hiện thực khi Apple công bố ra mắt sản phẩm mới trong tháng 9/2017.
Tham gia Page công nghệ hàng đầu về iPhone, iPad:
Page: http://facebook.com/hoangkien.co
Website: https://www.hoangkien.com
Youtube Channel: www.youtube.com/hoangkienchannel
Kênh thuộc sở hữu của Hoàng Kiên 284 Xã Đàn - Đống Đa - Hà Nội
Hotline: 0123.888.3663 - 0129.956.9999
Tại Hoàng Kiên, tất cả các sản phẩm iPhone, iPad New và Like New đều được bảo hành 12 tháng 1 đổi 1 (cả nguồn và màn hình)
Hoàng Kiên chỉ bán máy chính hãng, zin nguyên bản. Cam kết không ZIN tặng máy - Duy nhất tại Việt Nam
Các sản phẩm của Hoàng Kiên: iphone 7 -7plus; iphone-6s-plus; iphone-6-6-plus; iphone-5s; ipad-pro-9-7in-32g; ipad-air-air2